H鋼の溶接を不要にする魔法のネジを開発
~溶接作業のコスト、工期、危険性を大幅に削減可能~


商品名:タイトフレーム用ビス(厚板H鋼用)
https://www.yamaki-sangyo.com//digitalcatalog/#page=27
■開発の背景
弊社は、創業以来、建設現場で使用されるネジ・ビスなどを開発してまいりました。
実際に施工をする職人さんからのお声として、H鋼(建設現場で用いられる骨組みになる部材)を他の部材と接合する際に、溶接作業が必要になり、結果時間とコストがこの工程に多く発生するという現場の声を多く頂いておりました。溶接作業は、屋根の上に溶接の機器を上げる必要があり、また大量の火花が発生する危険な作業でもありました。(現場によっては火花禁止の現場もあり、溶接そのものが出来ないケースもあります。)
こういった建設現場における大変な作業を少しでも楽にできないだろうかという想いから、溶接不要でH鋼と部材を接合することが出来る特殊なネジを開発致しました。
建設業はながらく、3K(キツい、汚い、危険)仕事と言われ、昨今は建設業におけるなり手不足・人手不足が問題化しております。弊社はこの様な特殊ネジ・ビス等の開発を通じ、少しでもこの問題の解消に今後も努めてまいります。

■商品の特徴
折板屋根下地のタイトフレームをH鋼に施工する際、溶接工法ではなくビス止め工法が可能な特殊ビスです。
・厚板H鋼(6mm~12mm)にビスが入ります!!
・特殊ビスで各種金物やタイトフレームをH鋼に取り付けが可能!
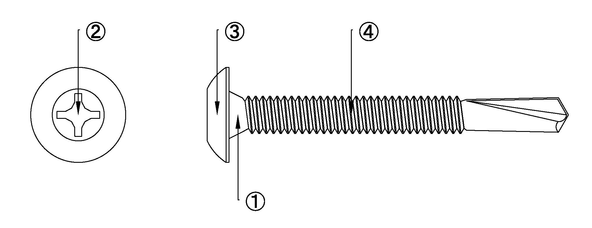
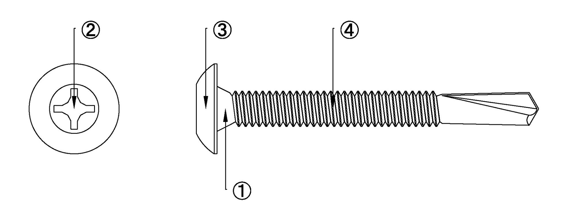
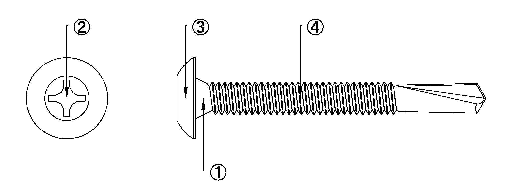
ネジの図説

① 首下特殊形状
・首下特殊(テーパー)形状により、高いせん断力を有します。
② 十字穴
・ 十字穴(No.3)採用により、ビットとリセスの勘合性が高く、優れた施工性を有します。
③ 頭部形状
・頭高さが低く(3.1mm)、屋根材(上材)に干渉しません。
④ サイズ展開
・ 呼び径5.5mm・6.0mmの2種のラインナップから、コスト、工法に合わせ選択が可能です。
*使用用途
●タイトフレームの取り付け以外にも、各種金物などをH鋼に取り付けが可。
*強度
●溶接工法と同等の実体引抜荷重、実体せん断荷重を有します。



※いずれの試験もタイトフレームの変形又は、剣先ボルト部の破壊で試験終了

■商品概要
商品名 : タイトフレームビスH鋼厚板用
発売日 : 2015年1月13日
種類 : 素材:鉄 表面処理:三価ユニクロ
入数 : 5.5×50mm=100本入り 6.0×50mm=100本入り
サイズ : 5.5×50mm 6.0×50mm(頭径:14mm 刃先:15mm 働き長さ:27.5mm)
材質 : 炭素鋼(SWCH18A)
販売場所: 山喜産業公式オンラインショップ
URL : https://onlineshop.yamaki-sangyo.com
■山喜産業株式会社について
弊社は、建築用のネジ、釘を中心に、他の様々な業界のお客様にネジ、釘(ファスナー)を提案している商社で、1952年の設立依頼、70年間に渡り、多くの建設現場にネジや釘を供給してきた会社です。
その現場毎の状況に合わせたネジを協力会社とともに開発し、あらゆるユーザーのご要望にお応えしております。
■会社概要
商号 : 山喜産業株式会社
代表者 : 代表取締役社長 山本尚樹
所在地 : 〒542-0012 大阪市中央区谷町6丁目10番26号
設立 : 1952年
事業内容: 各種建築用ファスナー・金物の企画・開発・販売
資本金 : 8,800万円
URL :https://www.yamaki-sangyo.com
このプレスリリースには、メディア関係者向けの情報があります
メディアユーザー登録を行うと、企業担当者の連絡先や、イベント・記者会見の情報など様々な特記情報を閲覧できます。※内容はプレスリリースにより異なります。
すべての画像