April Dream Project
日本中のモヤモヤした気持ちをクリアに晴らしたい。
― 透明な氷が紡ぐ澄み切ったおうち時間で、心をクリアにリフレッシュ ―
このプレスリリースは、April Dreamプロジェクトに共感し、4月1日を夢があふれる日にしようとする事業者が、やがて叶えるために発信した夢です。
当社は、4 月 1 日を夢を発信する日にしようとする April Dream に賛同しています。このプレスリリースは「株式会社PLANETAL DESIGN 」の夢です。

“楽しい”は、幸せや充足感、持続性など、様々なことの礎となる大切なもの。
もっと社会で重要視されるべき要素だと私たちは考えています。
しかし、目まぐるしいスピードで進んでいく、見通しの効かない現代社会。
仕事や学校、家庭等いろんな所でモヤモヤを抱えている方もたくさんいらっしゃると思います。
心にかかるモヤモヤは、いろんな”楽しい”を感じ取りにくくさせてしまいます。
そんなモヤモヤを、何気ない”飲み物を飲む”という日常の行為でちょっとづつ晴らせたら。
そんな思いで、普段のおうちドリンクがちょっと特別で嬉しいものになる、
美しい透明な氷を作れる製氷器を開発しました。

透明な氷がゆっくりと溶ける様は、
焚火の揺らめきのように常に表情を変えていく自然現象。
忙しい現代社会で忘れがちな、心落ち着く”ひととき”を紡ぎます。
そんな”ひととき”を、もっと簡単に日常に取り入れられるように、
たくさんのこだわりを詰め込んだ製品を作りました。
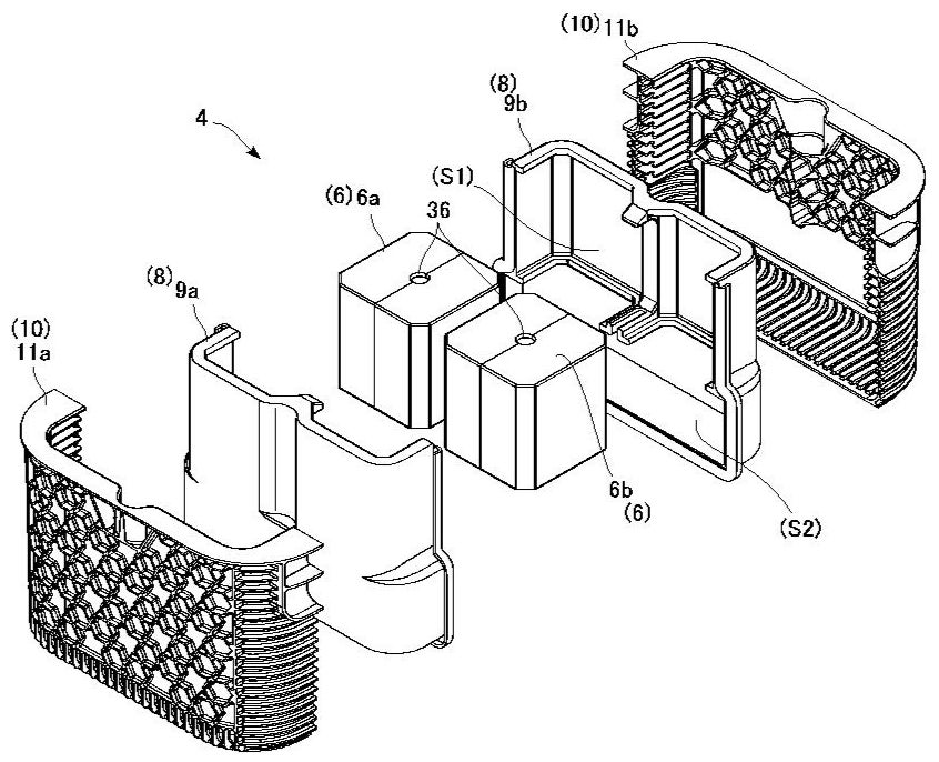
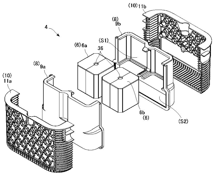
- 毎日使っても疲れないように、カンタンに氷を取り出せる特許構造。

- 色んなカタチの透明氷で、夜の晩酌にも、午後のティータイムにも、涼やかな素麺にも。

- 長く愛用頂けるように、高品質な日本製パーツ+堅牢な構造に。

そして、重たい氷を買い続けるよりもリーズナブル。
ビニール袋も増えずサステナブル。
そんなたくさんの思いとこだわりを詰め込んだice dropsを、
もっとたくさんの人に知ってもらい、透明な氷の力で、
日本中のモヤモヤした気持ちを少しずつクリアに晴らしていく。
それが私達の夢です。
- 製品詳細
https://prtimes.jp/main/action.php?run=html&page=releasedetail&company_id=114088&release_id=1&owner=1
- 販売サイト
ice drops :https://amazon.jp/dp/B0BNXVDLQJ/
ice drops 交換用モールドFuji :https://amazon.jp/dp/B0BNXWR2H2/
その他、楽天、ヨドバシ.com、各種ふるさと納税サイト等でも取り扱っております。
- 会社概要
所在地: 東京都青梅市千ヶ瀬町 1 丁目 43-35
設立: 2022 年 2 月 2 日
代表者: 澤田 克樹
公式サイト URL: https://planetal.co.jp/
「April Dream 」は、 4 月 1 日に企業がやがて叶えたい夢を発信する、 PR TIMES によるプロジェクトです。
私たちはこの夢の実現を本気で目指しています。
このプレスリリースには、メディア関係者向けの情報があります
メディアユーザーログイン既に登録済みの方はこちら
メディアユーザー登録を行うと、企業担当者の連絡先や、イベント・記者会見の情報など様々な特記情報を閲覧できます。※内容はプレスリリースにより異なります。
すべての画像
