【株式会社スリーオン】は、東京都23区の筆界地図サービス「土地マップTokyo23区」を期間限定で公開します。
23区の筆界(※1)が途切れなく見ることができる唯一の地図サービスとなります。
株式会社スリーオンは、東京都23区の筆界地図サービス「土地マップTokyo23区」を2023年5月15日よりhttps://tochimap.comにて期間限定公開(※2)します。今年1月にG空間にて公開(※3)された登記所備付地図では、地図に表示することができる公共座標系の収録範囲が少なく23区内の筆界を途切れることなく見ることができませんでした。
需要が特に高い23区内の土地筆界地図を収録しており、G空間にて公開された登記所備付地図よりも利便性が高い地図となっています。
1.ウェブサイトにて公開されている一般の地図サービスでは、住居表示(〇丁目〇番〇号)なっており、
「土地マップTokyo23区」での地番(〇丁目〇地番)が途切れなく分かる唯一のサービスとなっています。

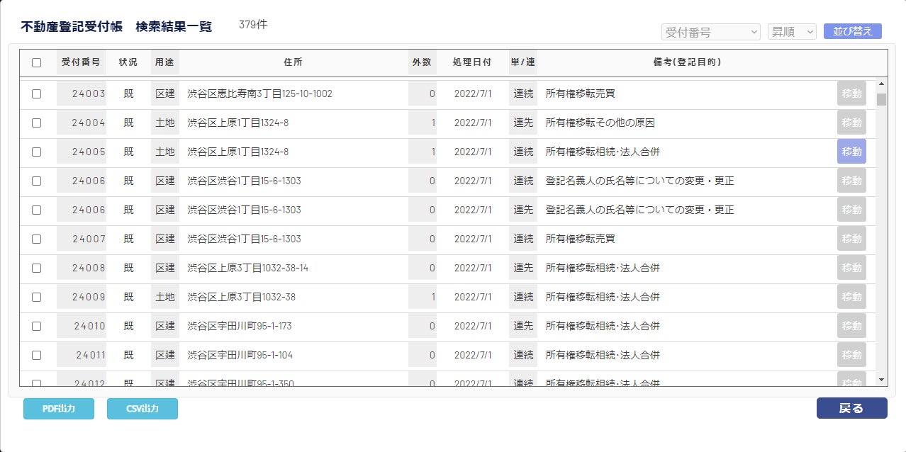
2.不動産登記受付帳データを一部期間搭載しており登記変更があった筆界の位置を確認することができます。
これまでは、位置を確認することは困難な作業でした。



不動産、金融、農業、都市計画、新店舗の候補地の確認等、様々な分野で活用ができます
※1 筆界とは、不動産登記の領域(土地)を示すものです。
※2 公開終了日は、現在未定です。
※3 地図データのG空間情報センターを介した一般公開について
このプレスリリースには、メディア関係者向けの情報があります
メディアユーザーログイン既に登録済みの方はこちら
メディアユーザー登録を行うと、企業担当者の連絡先や、イベント・記者会見の情報など様々な特記情報を閲覧できます。※内容はプレスリリースにより異なります。
すべての画像