サインタイム株式会社 3期目を迎え、サービスサイト・ロゴを刷新
サインタイム株式会社(本社:東京渋谷区 代表取締役:ジム・ワイザー)は、3期目を迎えました。これを機に国内外での更なるサービスの拡大を目指し、サービスサイトとサービスロゴを一新しました。
サインタイム株式会社は2020年9月に創立し、皆様の多大なる支援のもと、3期目を迎えることができました。この場をお借りして御礼を申し上げます。
サービスサイトでは、サインタイムの使いやすさや機能・料金プランなどが、よりわかりやすくなりました。
9/27公開のサービスサイト(日本語・英語):「https://site.signtime.com/」
また、利用履歴のリリースに伴い、これまでβ版でご提供してきたオプションサービスを有料化させていただきました。
※プランによって利用履歴が表示されない場合があります。
お客様のご要望に沿ったサービスを開発、ご提供し、ブロックチェーンなどの最新の技術との連携を実施したり、常に品質の高いサービスをご提供できるようアップデートを行っています。
所在地:〒150-0041 東京都渋谷区神南1丁目6-5
代表取締役:ジム・ワイザー
事業内容:電子契約サービス「サインタイム」の開発・運営
設立:2020年9月29日
サービスサイト:https://site.signtime.com/
本件に関する問い合わせ先:二渡・田村
https://site.signtime.com/jp/contact/

- サービスロゴの刷新
社名の「サインタイム(SignTime)」からペンと時計を連想させ、シンボルマークのモチーフに採用。電子契約サービスであることが直観的に伝わるデザインに仕上げました。ペンは向きを変えると、「!」のマークになり、サインタイムがこれから展開するサービスで世界を驚かせる様子を表現しています。

- サービスサイトの公開
サービスサイトでは、サインタイムの使いやすさや機能・料金プランなどが、よりわかりやすくなりました。
9/27公開のサービスサイト(日本語・英語):「https://site.signtime.com/」
サービスサイトトップ
サインタイムで解決できること
サインタイムの機能
会社概要トップ
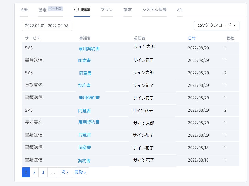
- 管理画面をアップデート!会社全体の利用履歴を管理者が一覧で把握可能に
また、利用履歴のリリースに伴い、これまでβ版でご提供してきたオプションサービスを有料化させていただきました。
※プランによって利用履歴が表示されない場合があります。
利用履歴画面
オプションサービスについて
- 電子契約サービス「サインタイム」
お客様のご要望に沿ったサービスを開発、ご提供し、ブロックチェーンなどの最新の技術との連携を実施したり、常に品質の高いサービスをご提供できるようアップデートを行っています。
- サインタイム株式会社 会社概要
所在地:〒150-0041 東京都渋谷区神南1丁目6-5
代表取締役:ジム・ワイザー
事業内容:電子契約サービス「サインタイム」の開発・運営
設立:2020年9月29日
サービスサイト:https://site.signtime.com/
本件に関する問い合わせ先:二渡・田村
https://site.signtime.com/jp/contact/
すべての画像
- 種類
- 商品サービス
- ビジネスカテゴリ
- アプリケーション・セキュリティネットサービス
- ダウンロード
