アイチップス・テクノロジー、HDMI 4K60Hz入出力対応 FPGA基板『iEB-KXU2』を開発

4K画像処理の回路を開発する際、画像入出力インターフェースやホストインターフェースの開発・デバッグが必要となり、手間とコストが掛かっておりました。
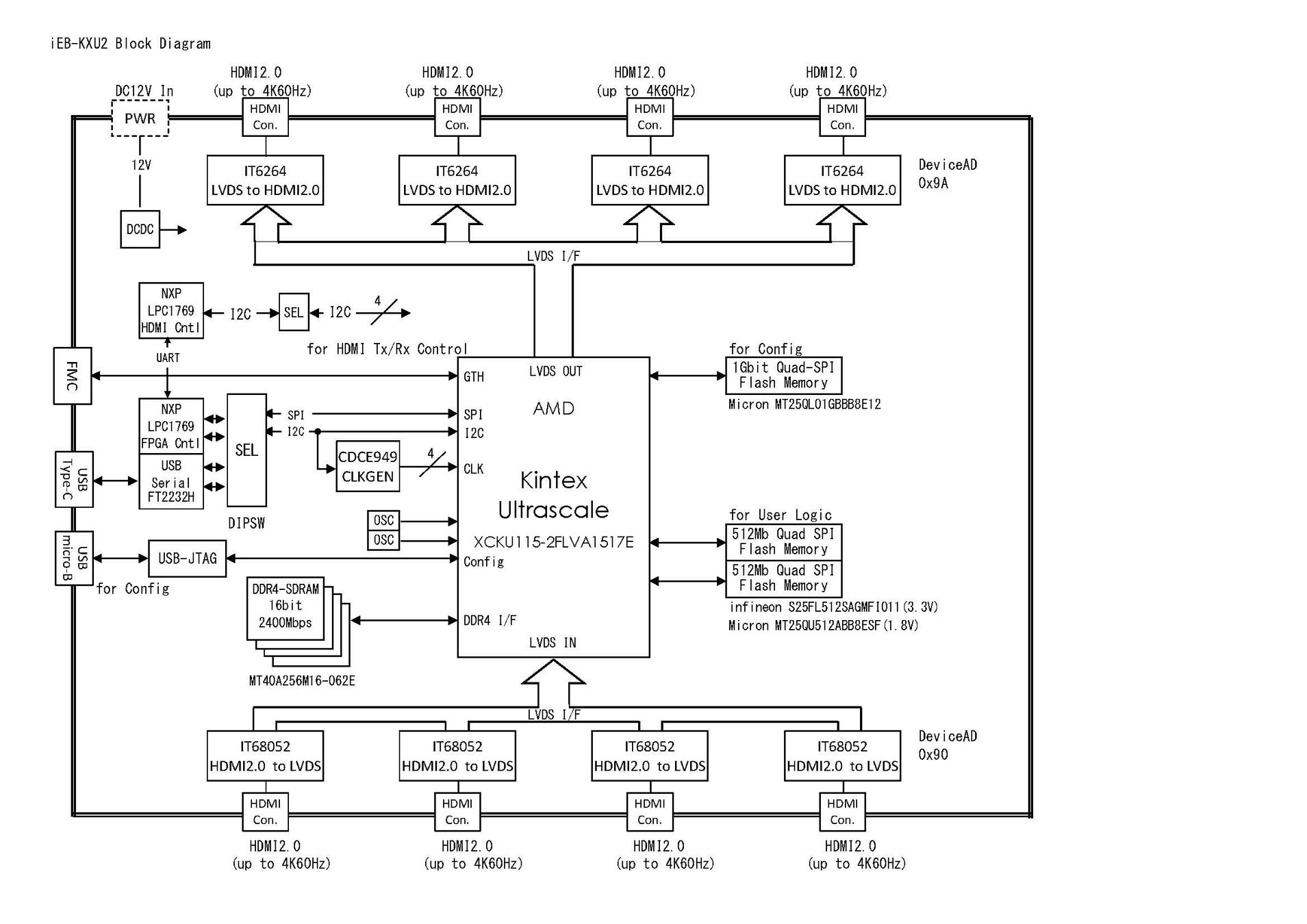
今回開発した『iEB-KXU2』では、FPGAの画像入出力に取り扱いの容易なLVDSを採用しており、付属のレジスタコンパイラ*を用いることで、開発・デバックに煩わされることなく本来の開発にご注力いただける基板となっております。
*レジスタコンパイラは、FPGA内部の制御用レジスタとSPI I/Fを定義表から生成するツールです。
『iEB-KXU2』は、大規模で高速なFPGAであるAMD社製 Kintex UltraScale (XCKU115-2FLVA1517E)を搭載しており、高解像度の4K60Hz画像に対する複雑な画像処理にも対応可能です。
フレームメモリはDDR4(2400Mbps x16bit 8Gbit x4pcs)を搭載し、時間方向の画像処理にご活用いただけます。
画像のインターフェースは入出力ともHDMI2.0を採用し、容易に4K60Hzの画像を取り扱えます。
また、シリアルFlashを2pcs搭載しており、OSD等のデータ格納にご活用いただけます。(合計1Gbit)コンフィグレーション用に専用シリアルFlashとDIGILENT社製JTAG-SMT2 Programming Moduleを搭載しており、特別なツールを使うことなく、PCからMicroUSB経由でFPGAのデータを書き込むことが可能です。(AMD社製Vivado使用)
●FPGAへの画像入出力にLVDSを採用
●USB経由でPC上の制御アプリ(WREG2400.exe)を付属
●HDMI Tx/Rxの制御は、独立したLPC1769で処理 UART接続で相互通信可能
●4K60Hz入出力用リファレンス回路(サンプル)や、レジスタコンパイラの提供により、容易に4K60Hz
画像処理の開発環境を構築可能
販売価格:300万円
ブロック図

『iEB-KXU2』の仕様

□特長
・DIPSW切替により外部PC制御(USB経由)又は、搭載マイコン制御を選択可能
・外部PCから制御の場合付属PC用アプリケーション WREG2400.exeで制御
・レジスタレベルのプログラミング可能

※すべての アイチップス製品名および アイチップス製品ロゴは アイチップス・テクノロジー株式会社の商標または登録商標です。
※HDMI、High-Definition Multimedia Interface、HDMIロゴは、米国およびその他の国におけるHDMI Licensing Administrator, Inc.の商標または登録商標です。
※AMD、Xilinx、Kintex、UltraScaleは、米国およびその他各国のAdvanced Micro Devices, Inc.の商標または登録商標です。
※その他の会社名または製品名は、各社の商標または登録商標です。
株式会社アイチップス・テクノロジー

多彩な映像機器の中核を担う、映像・画像処理 LSI のエキスパート
・会社名:アイチップス・テクノロジー株式会社
・代表者:代表取締役社長 柳井 明弘
・所在地:〒661-0976 兵庫県尼崎市潮江1丁目2番6号 JRE尼崎フロントビル6F
・事業内容:映像・画像処理(解像度変換・メモリーコントローラ・画像圧縮伸張等)を中心とした汎用LSIの開発・設計・製造・販売、カスタムLSIの受託開発、IPのライセンス事業
・URL:https://www.i-chips.co.jp/
株式会社IMAGICA GROUP

1935年の創業以来、新たな“映像”の価値創出に挑戦し続け、これからも「世界の人々に”驚きと感動”を与える映像コミュニケーショングループ」を目指してまいります。
・会社名:株式会社IMAGICA GROUP / IMAGICA GROUP Inc.
(東証プライム市場、証券コード:6879 イマジカG)
・代表者:代表取締役社長 社長執行役員 布施 信夫
・所在地:〒105‐0022 東京都港区海岸一丁目14番2号
・創立:1935年2月18日
・資本金:33億6百万円
・事業内容:映像コンテンツ事業、映像制作サービス事業、映像システム事業等を営むグループ会社の事業の統括
・URL:https://www.imagicagroup.co.jp/
このプレスリリースには、メディア関係者向けの情報があります
メディアユーザー登録を行うと、企業担当者の連絡先や、イベント・記者会見の情報など様々な特記情報を閲覧できます。※内容はプレスリリースにより異なります。
すべての画像
- 種類
- 商品サービス
- ビジネスカテゴリ
- 電子部品・半導体・電気機器サーバ・周辺機器
- ダウンロード
