SIM搭載IoT電球の設計に関する米国の特許を取得
ハローテクノロジーズが開発した世界初のSIM搭載のIoT電球「Hello Light(ハローライト)」は高齢者向け見守り等の用途として約4万個の販売実績があります。
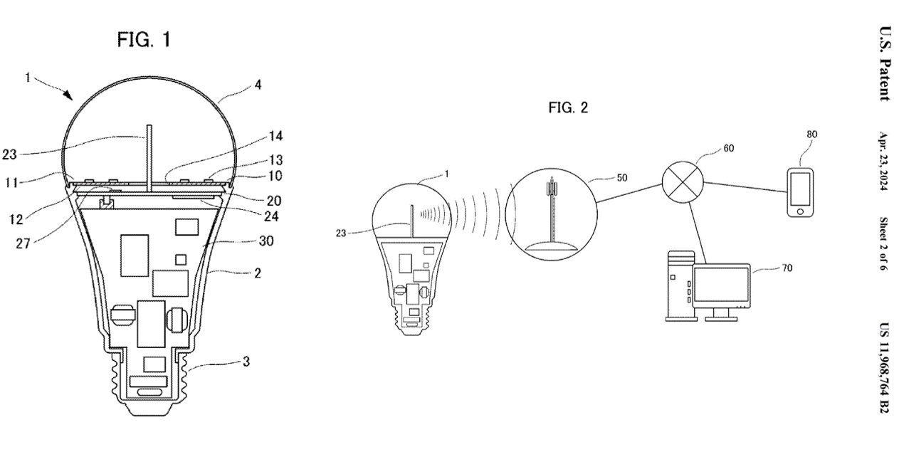
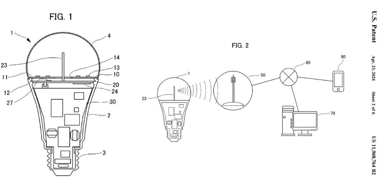
「Hello Light」は、SIMを搭載し、Wi-Fiを使わずに点灯を検知してクラウドに通知することができるIoT電球です。導入方法は、電球を「Hello Light」に交換するだけで、工事などの作業は不要です。これにより、監視カメラのようなプライバシーの問題を避けつつ、電球の点灯によって、リアルタイムに利用者の活動を検知できます。
「Hello Light」は、ヤマト運輸の「クロネコ見守りサービス ハローライト訪問プラン」でも利用されています。ヤマト運輸のスタッフが見守られるご家族のご自宅にハローライト電球の取り付けを行い、点灯・消灯が24時間検出されなかった場合、通知先の依頼に応じてヤマト運輸のスタッフが代わりに訪問しています。
■クロネコ見守りサービス ハローライト訪問プラン
https://nekosapo-order2.kuronekoyamato.co.jp/mimamori.html
この度、世界初のSIM搭載IoT電球「Hello Light」の設計に関する米国の特許を取得(US 11,968,764)しました。本特許は、国際出願(国際公開公報WO2022/157868)を基にした特許であり、欧州、中国、韓国などにも出願をしております。
また、「Hello Light」は、株式会社ソラコム(本社:東京都港区、代表取締役社長 玉川 憲、以下 ソラコム)の協力で開発しており、世界の通信網に対応しています。
電球の規格は米国をはじめとして日本と同じ国が多い状況です。また世界で高齢化が進行しており、トイレなどの電球を交換するだけで利用者の活動が検知できることの利便性も世界で共通です。こうした背景をふまえ、今後は本技術を活用して世界各国への展開を進めてまいります。

※ 日本の特許に関する公報は特許第7489050号公報になります。
※ 株式会社ソラコムが提供する“SORACOM IoT SIM”を採用したLEDとSIMの一体型のものであり、このような電球は世界初となります。
※ 記載の会社名・団体名・製品名およびサービス名は、それぞれの会社・団体の商標もしくは登録商標です。

■ハローテクノロジーズ株式会社
所在地 :東京都千代田区九段北1-3-5
代表者:代表取締役 鳥居暁
設立:2019年6月
URL :https://hello.inc
◆本リリースに関するお問い合わせ先◆
ハローテクノロジーズ株式会社 広報担当
【お問い合わせ】https://hello.inc/contact/
すべての画像
