インボイス制度対応の適格請求書発行機能を丸投げ電子帳簿保存法対応サービス「Connected Base」に追加
インボイス制度の対応で必要な適格請求書発行事業者登録及び適格請求書・適格返還請求書等に対応
丸投げ電子帳簿保存法対応サービス「Connected Base」を提供する株式会社YOZBOSHI(本社:東京都練馬区、代表取締役:藤井翔吾、以下「YOZBOSHI」)は、電子帳簿保存法と関わりのあるインボイス制度に対応するため、適格請求書・適格返還請求書等を発行できる機能をリリースしました。
シンプル適格請求書送信サービス
2023年10月より、インボイス制度が開始されます。
その中で、様々なインボイス制度対応サービスが登場していますが、既存システムへの改修が必要なものやワークフローなど便利機能が具備されているものが一般的でした。しかし、インボイス制度のためにかかるコストに躊躇しているという声や、新サービス導入するために既存業務を変えることが障壁となっているという声も多く聞こえて来ました。
そこで「できるだけシンプルなサービスはないのか?」というコンセプトで、適格請求書を送信することに特化した【シンプル適格請求書送信サービス】をリリースしました。また、発行した適格請求書の控えも電子帳簿保存法の適用範囲となるため、丸投げ電子帳簿保存法対応サービス「Connected Base」への機能追加となりました。
■追加された機能
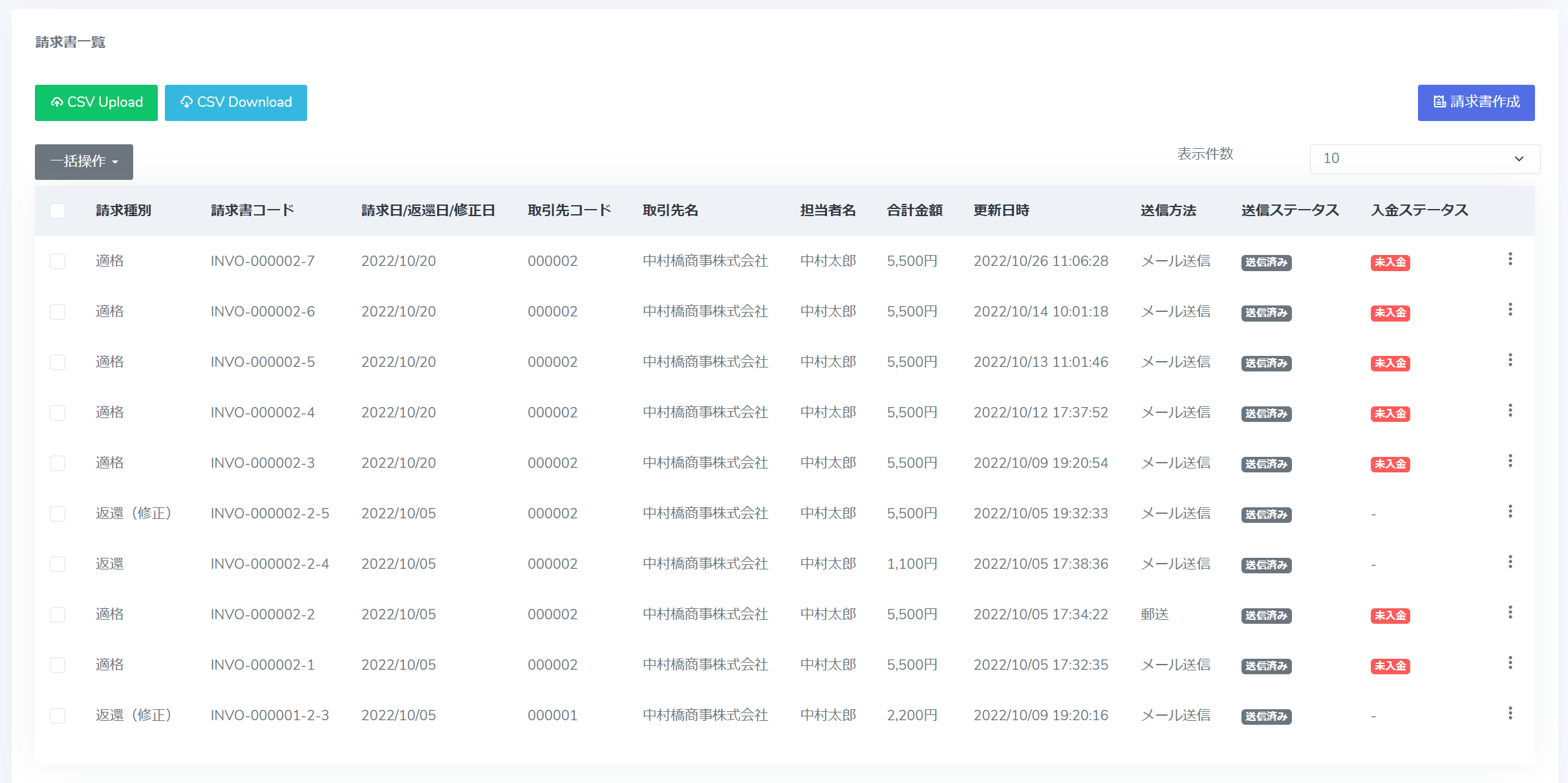
【請求書一覧画面イメージ】
適格請求書の作成・送信状況・入金状況などを一覧で管理できます。
本制度では適格請求書の発行の他に、状況に適した「返還・修正インボイス」の発行が必要となります。
そこで、最初に発行した適格請求書に紐づいた「返還・修正インボイス」を確認することが出来ます。
請求書一覧画面イメージ
【請求書作成画面イメージ】
従来通りの請求書項目を入力してもらうだけで、インボイス制度に対応した適格請求書フォーマットで請求書作成が可能です。また、適格請求書の送信方法としてメール送信に加え、「郵送」を選択いただけるため、紙の請求書を要望されるお客様への郵送を代行いたします。
請求書作成画面イメージ
【返還・修正インボイス作成サポート画面イメージ】
インボイス制度では、一度送付してしまった適格請求書に変更が発生した場合には、状況に適した「返還・修正インボイス」の発行が必要となってきます。そこで、適切なインボイス発行をより簡単に作成できるようにするために、以下が画像のようなサポート表示に回答してもらうだけで適切なインボイスを発行できます。
返還・修正インボイス作成サポート画面イメージ
■製品サイト
https://connected-base.jp/invoice_lp.html
■サービスのお問合せ
当サービスにつきましては、以下のURLよりお問合せください。
https://connected-base.jp/inquiries
■電子帳簿保存法について
経理の電子化による生産性の向上、記帳水準の向上等に資するため、令和3年度の税制改正において、「電子計算機を使用して作成する国税関係帳簿書類の保存方法等の特例に関する法律(平成10 年法律第 25 号。以下「電子帳簿保存法」といいます。)」の改正等が 行われ(令和4年1月1日施行)、国税関係書類などの帳簿書類を電子的に保存する際の手続等について、抜本的な見直しがなされました。
具体的には、索引簿の作成と保存要件に従った長期間の保管が必要になります。
■「Connected Base」とは
オンプレの会計システムをご利用されているような法令対応のカスタマイズに負荷がかかる
企業様に向け、アップロードするだけでカンタンに電子帳簿保存法改正対応ができるクラウドサービスです。インボイス制度への対応など機能拡充も行っておりますので、お困りの際はぜひご相談ください。
サービスページURL:https://connected-base.jp/
■関連URL
複雑化!?法改正への対処法とは 〜電子帳簿保存法、インボイス制度はどう扱う?〜
https://connected-base.jp/contents/blog/20220609_blog_1.html
Googleドライブで始めるお手軽なインボイス制度の対応方法とは?
https://connected-base.jp/contents/blog/20230111_blog_1.html
インボイス発行事業者(適格請求書発行事業者)の登録申請方法
https://connected-base.jp/contents/blog/20220802_blog_1.html
■株式会社YOZBOSHIについて
アナログとデジタルを繋ぐ架け橋にというVISIONを持ち、効果的なDX(デジタルトランスフォーメーション)を実現するために適切に人を介在させ、適切にデジタルをミックスさせた「アナログミックス」なプロダクトを提供することで、価値あるDX戦略をご支援していきます。
■会社概要
会社名:株式会社YOZBOSHI
所在地:東京都練馬区中村北3-22-13-102
設立:2022年2月10日
業務内容:
・電子帳簿保存法対応ソフトウェア提供サービス
・帳票分類作業代行サービス
・法令対応コンサルティングサービス 等
URL:https://yozboshi.co.jp/
このプレスリリースには、メディア関係者向けの情報があります
メディアユーザーログイン既に登録済みの方はこちら
メディアユーザー登録を行うと、企業担当者の連絡先や、イベント・記者会見の情報など様々な特記情報を閲覧できます。※内容はプレスリリースにより異なります。
すべての画像
