保全業務のペーパーレス化サービス『Check+』、課題管理機能やQRコード連携など、現場DXを加速する大型アップデートを実施
現場の「気づき」やトラブルをリアルタイムで記録・共有。承認プロセスの柔軟化により、点検・メンテナンス業務のさらなる効率化を実現

株式会社エム・ソフト(本社:東京都台東区、代表取締役社長:佐藤圭介、以下「エム・ソフト」)は、保全業務のペーパーレス化サービス『Check+(チェックプラス)』において、現場の課題管理機能の追加やQRコード連携を含む大型アップデートを実施しました。新たに追加された機能により、現場で発生したトラブルや「気づき」の迅速な共有が可能となるほか、承認フローの最適化や直感的な操作性の向上により、保全・メンテナンス業務における現場DXをさらに加速させます。
開発の背景:設備保全・メンテナンス業務における主な課題
プラントやビルメンテナンス、建設現場では、熟練技術者の減少や労働力不足への対応が急務となっています。
従来のデジタルツールは、定型的な点検業務のペーパーレス化において、一定の成果を上げてきました。しかし、作業中に発生した突発的なトラブルの報告や、現場での気づきの共有においては、依然として電話や口頭、別途メールでの報告に頼らざるを得ないケースが多く、情報の属人化や対応の遅れが課題となっています。
また、システム導入においては、デジタル機器に不慣れな作業者への教育コストや、実際の承認フローとシステム仕様の乖離がかえって業務の妨げとなり、現場定着の障壁となっていました。
このような課題を解決するため、今回のアップデートでは「現場のコミュニケーションの円滑化」と「業務スピードの向上」に焦点を当てた機能強化を行いました。
『Check+』とは?
『Check+』は作業手順作成から進捗管理、報告までの業務をデジタル化するクラウドサービスです。作業手順とチェックリストを一体化した作業計画の作成、タブレットやスマートフォンを使った点検の実施記録、作業実績の確認や電子承認・報告書の自動出力などが可能です。
今回のアップデートのポイント
-
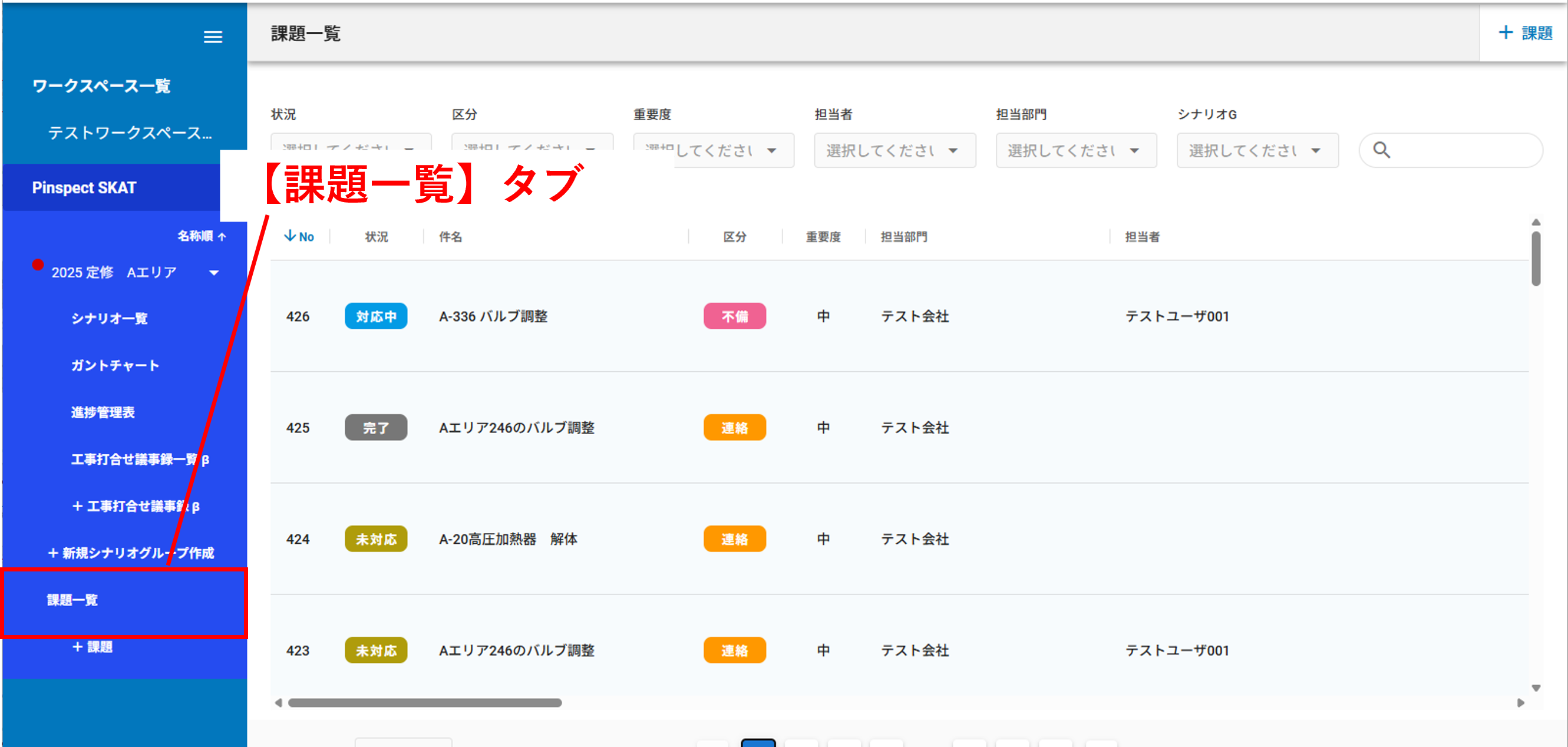
課題管理機能の追加
現場での予期しない異常や気づきを、「課題」として写真・コメント付きで登録し、関係者間で共有・管理することが可能に。 -
承認フローの最適化
作業計画や作業の実施記録について、承認が不要な場合、スキップを可能とする機能を追加し、承認待ちによるタイムロスを削減。 -
QRコード連携機能とノート機能の強化
機器にかざすだけで対象の作業画面が起動。ITリテラシーを問わず誰でも即座に作業開始が可能。また写真の一時保存や手書きメモ機能により、直感的な情報整理を支援。
今後の展望
Check+は、ユーザーの皆様のご要望を製品開発に反映し、継続的な機能強化を実施しています。
エム・ソフトは、今後も現場の課題解決に焦点を当て、保全・メンテナンス業務のDX推進に貢献してまいります。
エム・ソフトオフィシャルサイト:https://www.msoft.co.jp/
Check+製品情報:https://pinspect.jp/checkplus
【本件に関するお問い合わせ先】
株式会社エム・ソフト 空間デジタルイノベーション室
sales_info@msoft.co.jp
参考:保全・メンテナンスの課題とアップデートの詳細
1. トラブル対応・情報共有の迅速化
現場での突然のトラブルや「気づき」を即座に共有、対応したい
現場作業では、計画された点検項目以外にも、突発的な設備の異常や改善が必要な箇所が見つかることが多々あります。電話やメモでの報告では、詳細な状況が管理者に伝わらない、対応状況の進捗を共有できないといった課題がありました。
<「課題管理機能」の追加>

作業中に発生した予期せぬ異常や現場での気づきを、その場で「課題」として登録する機能を追加しました。
①課題の見える化
「区分」「重要度」「担当者」などの属性を設定し、チーム全体で課題の優先順位や対応状況を把握することができます。

②写真とコメントで正確に共有
現場の写真を添付し、スレッド形式でコメント交換が可能。電話やメールの手間を省き、Check+上でコミュニケーションが完結することでトラブルシューティングを迅速に行えます。

2. 業務プロセスのスピードアップ
承認待ちの時間をなくし、スムーズに作業を進めたい
多くの業務管理システムでは承認フローに対する柔軟性が欠けているケースが多く、定型作業であっても管理者の承認が必要となり、承認待ちのタイムロスが発生しがちでした。
<「承認の要・不要選択機能」の追加>
作業計画(シナリオ)作成時や作業完了時に、承認の要・不要を選択できるようになりました。
第三者の確認を必要としない作業については、承認フローを省略することで、次のフェーズへ速やかに移行できるため、現場の判断でスピーディーに業務を完結させることが可能です。
3. 現場作業者の負担軽減と操作性向上
システム操作の手間を減らし、直感的に作業したい
多機能なツールは便利である一方、現場でどの機能を使えばよいか迷うことや、大量の写真整理に時間がかかるといった「使いにくさ」が、定着の妨げとなることがあります。
<「QRコード連携機能」の追加>

現場の設備に設置したQRコードを端末で読み込むだけで、該当機器の作業項目一覧や進捗状況を即座に表示できるようになりました。
スマートフォンやタブレットをかざすだけで必要な画面にたどり着けるため、システムに不慣れな作業者や協力会社の方でも迷わず利用できます。
<「ノート機能」の強化(写真整理・白紙メモ)>
現場で撮影した写真を一時的にストックし、後から適切な実施記録へ振り分ける機能や、白紙のキャンバスに手書きで図やメモを描ける機能を追加しました。
①白紙機能の追加
ノート上に白紙を追加して、自由に図を描いたり、文字を入れたりしてメモ代わりに使うことができます。メモを作成するために別ソフトを開く必要がなくなりました。また現場の指示や注意事項などを、その場でメモをするように残すことができます。

②写真整理の効率化
作業中にひとまず写真を撮っておき、作業終了後にあとから実施記録に反映させるといった柔軟な運用も可能になります。何度も画面を行き来することなく、直感的に写真の整理が可能です。
アップデートの詳細は以上です。
すべての画像