SNSマーケ炎上を未然に防ぐ──「広告チェックAI」にステマ自動検知機能が追加
X・Instagram横断チェックで広告表記の有無をAIが自動判定、企業のレピュテーションリスクを最小化
広告表記の不備をAIが発見、SNSプロモーションの透明性を確保へ

株式会社Archaic(本社:東京都渋谷区、代表取締役CEO:横山 淳、以下「当社」)は、提供中の「広告チェックAI」に、ステルスマーケティング(ステマ)対策を強化する新機能「SNS横断ステマ検知」を追加実装したことをお知らせいたします。
本機能は、X(旧Twitter)およびInstagram上の指定ハッシュタグ投稿をAIが自動収集・解析し、広告表記の有無を一元チェック。企業にとって喫緊の課題であるコンプライアンス対応とリスクマネジメントを支援するものです。
背景:景表法改正とともに高まる「広告表記の厳格化」ニーズ
SNSを活用したインフルエンサーマーケティングは、企業の重要な販促手法として定着する一方で、消費者に広告と気づかせない“ステマ”の温床にもなり得ます。
とりわけ2023年10月の景品表示法改正以降、ステマ規制が本格化し、企業には「投稿の内容まで管理する責任」が問われる時代へと突入しました。
しかし現場では、
-
複数SNSの目視チェックが困難
-
「#PR」「#広告」などの表示漏れ確認に膨大な工数
といった課題が残されており、ミスや見落としがレピュテーションリスクや行政指導につながる懸念が高まっています。
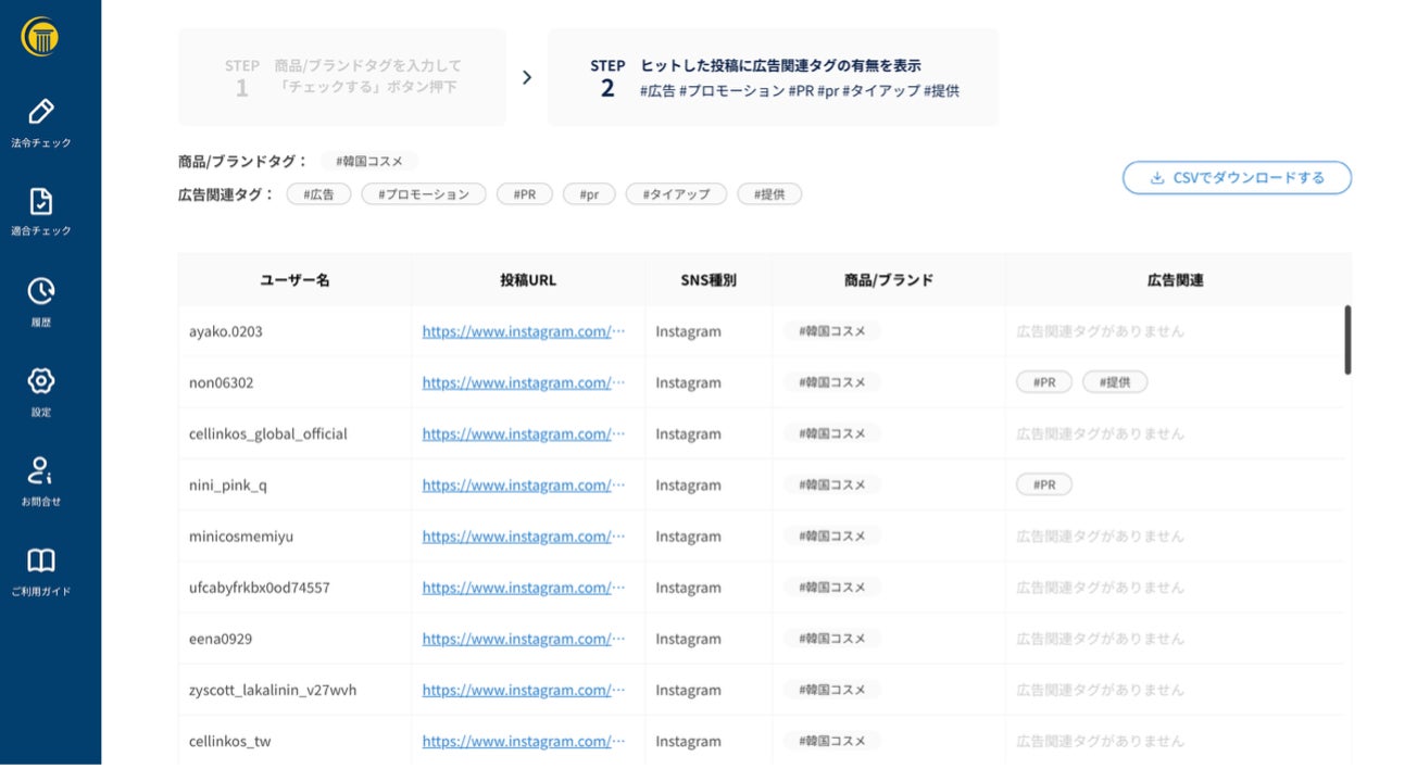
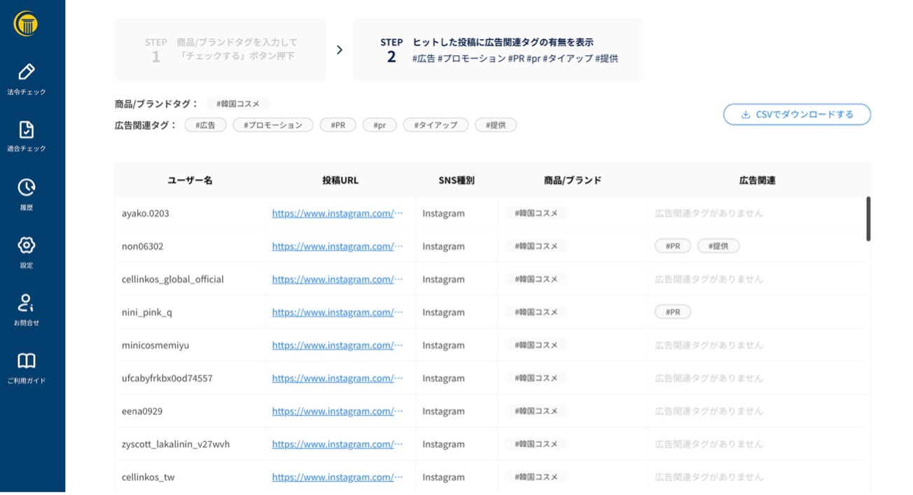
新機能:「#タグ」入力でAIが全投稿を自動収集・判定

追加された新機能では、企業担当者がプロモーションで指定したハッシュタグ(例:「#商品名」「#キャンペーン名」など)を管理画面に入力するだけで、
-
X/Instagram投稿を横断的に収集
-
「#PR」「#広告」など広告表記の有無をAIが判定
-
不適切投稿の一覧・修正状況を一目で把握
といった一連の確認作業を自動・可視化できます。
導入メリット:人の目に頼らない「炎上予防型マーケ管理」へ
本機能は「広告チェックAI」の標準画面内で利用可能で、
-
·煩雑なツール切り替え不要
-
担当者の業務負荷を最大90%削減
-
法令順守の証跡として社内外への提出も容易
といったメリットがあり、リスク管理・業務効率・ブランド保全のすべてに貢献します。
代表コメント:Archaic 代表取締役CEO 横山 淳
「“気づかれない広告”が一番危険です。
だからこそ、AIによる自動チェックの導入が不可欠になっています。
今後も、法令遵守と広告表現の自由のバランスを保ちつつ、
健全なデジタル広告環境の実現に貢献してまいります。」
Archaic社では今後も、薬機法対応・景品表示法対応など、法規制分野のAI活用を推進し、企業の広告業務における「自動チェック×透明性」の高度化を進めてまいります。
【会社概要】
『世界中の人が、AIをもっと身近に電気や水の様に当たり前の様に使うことができる世界を実現する!』をミッションに掲げ、AIの最新技術の学術的知見とグローバルなAIベンダーでの実績を持つ、ディープラーニングや人工知能システムの受託開発、および受託研究開発のスペシャリスト集団です。
Archaicはアルゴリズムをゼロから構築する僅か5%のAIビルダーで、各業界の最先端を目指す大企業のカスタムAIを制作しています。
『もっと身近な環境でAIを活用し、そのメリットを多くの方に伝えていくことで、AIのハードルが下がり、その先に日本国の産業の底上げにも貢献できるのではないか』と考えています。
会社名:株式会社Archaic
設立:2017年11月15日
所在地:東京都渋谷区神宮前1-22-1 オークラビル5階
代表者:代表取締役CEO 横山 淳
URL:https://archaic.co.jp
このプレスリリースには、メディア関係者向けの情報があります
メディアユーザー登録を行うと、企業担当者の連絡先や、イベント・記者会見の情報など様々な特記情報を閲覧できます。※内容はプレスリリースにより異なります。
すべての画像
- 種類
- 商品サービス
- ビジネスカテゴリ
- アプリケーション・セキュリティシステム・Webサイト・アプリ開発
- ダウンロード
